

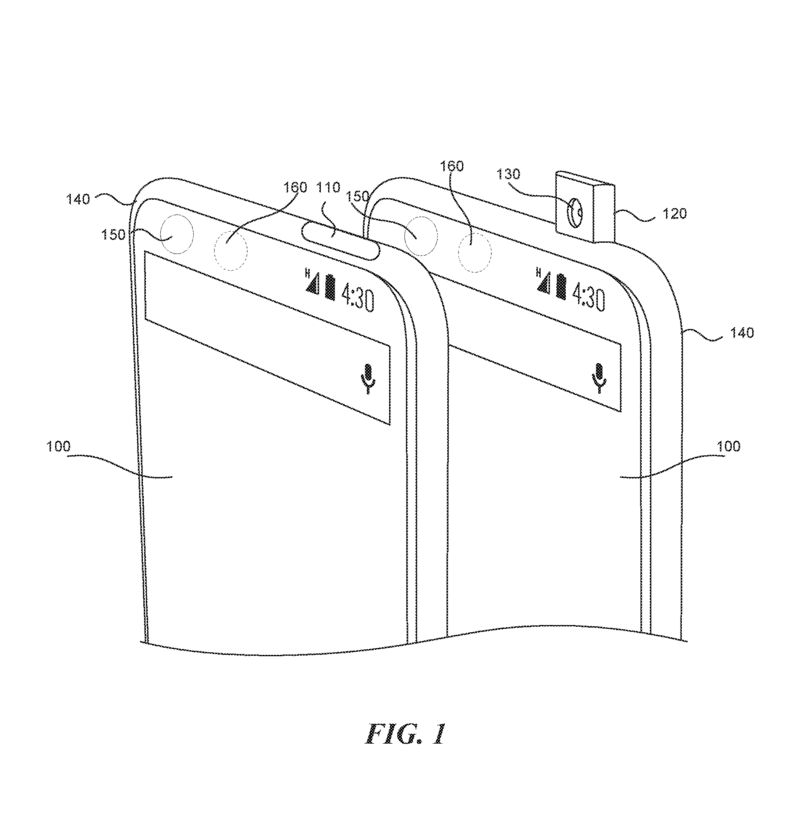
Essential Phone mohol vyzerať úplne inak

https://staging.touchit.sk/koncept-apple-iphone-se-2-mensi-brat-iphone-x/154931
Podobné články

25. septembra 2025
<1m
Garmin v tichosti pridal nové funkcie. Aktivujte si ich

23. septembra 2025
4m
Garmin Index Sleep Monitor: Riešenie pre tých, čo nechcú spať s hodinkami (RECENZIA)

19. septembra 2025
3m
Ako fungujú upozornenia na vysoký krvný tlak pomocou Apple Watch

17. septembra 2025
22m
BMW iX3 Neue Klasse: štyri supermozgy, radosť z jazdy a nadčasový dizajn

17. septembra 2025
2m
Apple rozšíril nástroje na ochranu detí a tínedžerov na internete

17. septembra 2025
2m
Chaos v aplikáciách Windows 11: Copilot sa nainštaluje automaticky

17. septembra 2025
2m