

Toyota si dala patentovať lietajúce auto
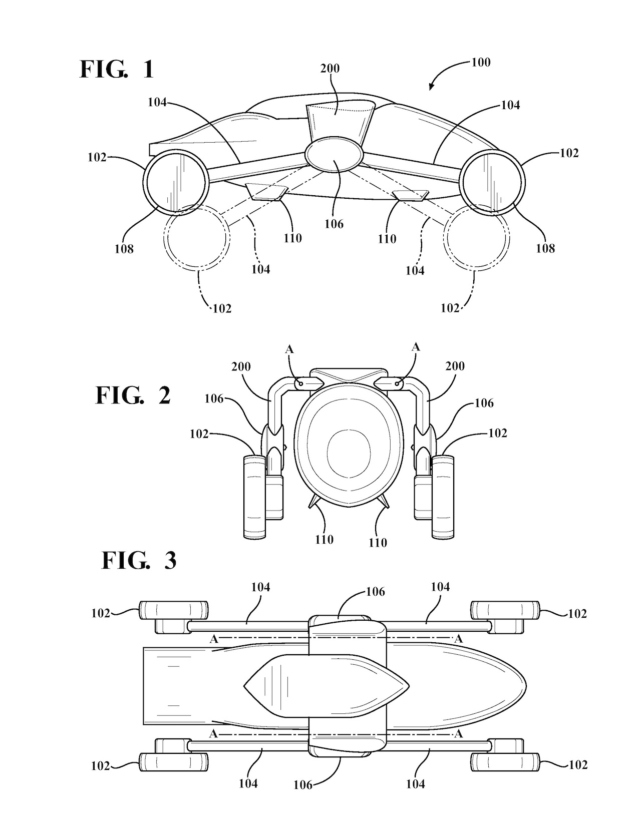
Lietajúce auto s kolesami, ktoré slúžia ako vrtule. Presne také si dala patentovať spoločnosť Toyota. Vozidlo má elektrický pohon na batérie alebo palivové články a vyvinula ho Toyota Engineering and Manufacturing North America.

Patentovaný vynález je ,,vozidlo s dvojitým režimom kolies a metódou prechodu z pozemného režimu do vzdušného”. Podanie na patentový úrad podrobne opisuje vozidlo s kolesami a ich jedinečným zavesením. Namontované na dlhých osiach môžu byť umiestnené vertikálne, vtedy auto jazdí po ceste. Keď pracujú horizontálne, presahujúc obrys karosérie, z kolies sa vysunú vrtule. Otáčajú sa dostatočnou rýchlosťou na to, aby vozidlo zdvihli do vzduchu.
Podobné články
Touchit má nový web!

Garmin v tichosti pridal nové funkcie. Aktivujte si ich

Garmin Index Sleep Monitor: Riešenie pre tých, čo nechcú spať s hodinkami (RECENZIA)

Ako fungujú upozornenia na vysoký krvný tlak pomocou Apple Watch

BMW iX3 Neue Klasse: štyri supermozgy, radosť z jazdy a nadčasový dizajn

Apple rozšíril nástroje na ochranu detí a tínedžerov na internete
